Nowe produkty
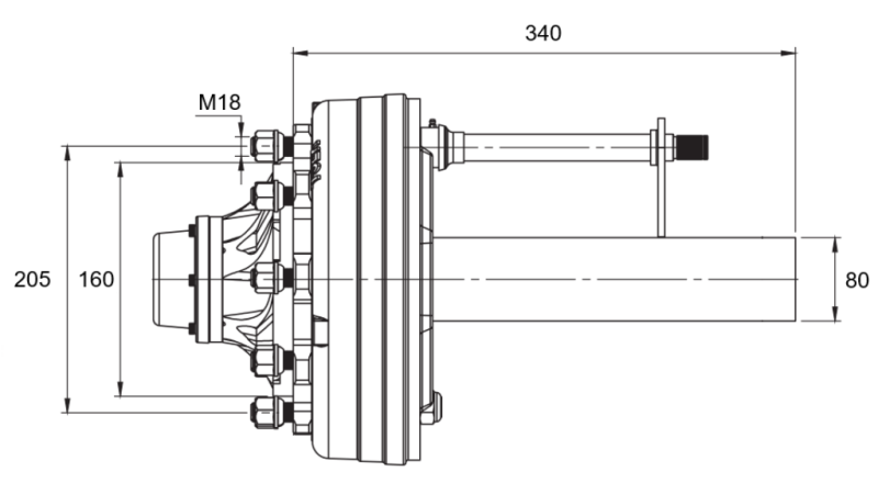
PÓŁOŚ Z HAMULCAMI - 4400 kg (6 ŚRUBKI) - 340 mm
Kod produktu:
14655
OEM:
9990000175680
Stawka podatkowa
22 %
Cena bez VAT:
921,27 PLN
Cena z VAT:
1.123,94 PLN
Ref:
5
| Informacje techniczne | |
| Dostawca: |
Turcja |
| Zwrot lub wymiana: |
14 dni |
| Gwarancja: |
6 miesięcy |
| Długość: |
340 mm |
| Nośność: |
do 4400 kg |
| Średnica wału: |
80 mm (kwadrat) |
| Wymiary hamulca: |
300 x 90 mm |
| Liczba śrub: |
6 |
Opis
Półosie są przeznaczone do stosowania w różnych typach przyczep z układem hamulcowym. Długość półosi wynosi 340 mm, a nośność do 4400 kg.
Dzięki solidnej konstrukcji i niezawodnemu wykonaniu, półosie nadają się do użycia w przyczepach towarowych i roboczych, podwoziach przemysłowych, ramach transportowych oraz innych rozwiązaniach technicznych, gdzie wymagana jest stabilna i trwała podpora osi koła.
Półosie umożliwiają zastosowanie standardowych felg z sześcioma śrubami i ułatwiają montaż.



%20-%20340%20mm.jpg)


